
2026-01-14
содержимое
I. обзор
Ⅱ. Функции
Ⅲ. технические параметры
Ⅳ. I nstallation & использование
Ⅴ.обычные неисправности и причины
Ⅵ. Отказ от ответственности
Ⅰ.обзор
Беспроводной счетчик воды AMR (LoRa) относится к высокотехнологичным продуктам интеллектуального счетчика воды, используя передовую технологию беспроводной передачи, он преобразует измеренную информацию обычного механического счетчика воды в электрический сигнал, если она хранится микроэлектронной схемой управления. он преобразует данные импульсов на водомере в электронный сигнал и беспроводно передаёт их в концентратор через сигнал лора. Концентратор загружает данные счетчика воды, получаемые каждый день, на облачную платформу, и администратор может считать данные каждого счетчика воды на платформе.
Ⅱ. Функции
1, прост в сборке: не требуется проводка, прост в установке и отладке;
2, низкая стоимость строительства: нет затрат на проводку, используйте беспроводную сеть, стабильность сигнала, быстрое считывание данных;
3, длительный срок службы: конструкция с низкой мощностью, режим ожидания в реальном времени, срок службы батареи ≥ 6 лет (загрузка данных один раз в день)
Ⅲ. технические параметры
| номинальный диаметр (мм) | диапазон измерения | максимальный расход q4 | номинальный расход q3 | переходный поток q22 | минимальный расход
Q1. |
| м³/ч | |||||
| 32 | R 80 | 10 | 12.5 | 0.2 | 0.125 |
| 40 | R 80 | 16 | 20 | 0.32 | 0.2 |
| 50 | R 80 | 31.3 | 25 | 0.5 | 0.31 |
| 65 | R 80 | 50.0 | 40 | 0.8 | 0.5 |
| 80 | R 80 | 78.8 | 63 | 1.26 | 0.79 |
| 100 | R 80 | 125 | 100 | 2 | 1.25 |
| 125 | R 80 | 200 | 160 | 3.2 | 2 |
| 150 | R 80 | 312 | 250 | 5 | 3.13 |
| 200 | R 80 | 500 | 400 | 8 | 5 |
| 250 | R 80 | 787 | 630 | 12.6 | 7.88 |
| 300 | R 80 | 1250 | 1000 | 20. | 12.5 |
1.параметры связи
| Имя данных | Параметр p |
| Потребление мощности связи | 60mA@RX |
| Коробка контроля c | тип разделения |
| чувствительность приемника | -132 дбм |
| интервал отчетности | 1 ~ 144 часа с устанавливается |
| ток покоя | 2,5 ua |
| средний ток | 18 ua |
| расстояние передачи | Расстояние передачи 1000 метров (5 кбит/с) |
| отправляющий бит | 0,1 м³ |
| источник питания | 3,6 В постоянного тока |
| Емкость b attery | 8,5 Ах |
| уровень защиты | ИП 68 |
2.относительная ошибка
максимально допустимая погрешность составляет ± 5% от зоны низкого расхода, включая минимальный расход, до демаркационного расхода (исключительно)
от зоны с высоким потоком, включая демаркационный поток, до перегрузочного потока (включительно) при температуре воды ≤ 30° максимально допустимая погрешность составляет ± 2%; при температуре воды > 30° максимально допустимая погрешность ± 3%
3.Рабочая температура: счетчик холодной воды: (0,1 ~ 30) °C счетчик горячей воды: (0,1 ~ 90) °C Рабочее давление: ≤1,0 МПа
4.Потеря давления: ≤0,063 МПа
5.Среда монтажа: класс b-стационарный счетчик воды, установленный в помещении
6.Электромагнитная среда: e1-жилая, коммерческая и легкая промышленность
7.Рабочий ток: тихий ток < 19uA
8.Уровень чувствительности профиля потока: U10, D5
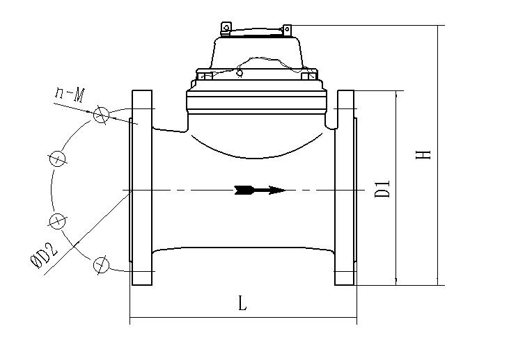
9.диаграмма d imension
| DN. | I. | I 1 | B) | H 1 | H 2 | подключение к
нитка нитка |
|
| мм. | d. | D. | |||||
| 32 | 230 | 373 | 103.5 | 115 | 120 | R1 1/4 | G1 1/2 b |
| 40 | 245 | 446 | 125 | 156 | 160 | R1 1/2 | G 2 b |
| номинальный диаметр | длина l | высота h | соединительный фланец gb/T17241.6-2008 | ||
| Мм. | ФД1 | ФД2 | Размер болта n-m | ||
| 50 | 200 | 383 | 165 | 125 | 4-м16 |
| 65 | 200 | 433 | 185 | 145 | 4-м16 |
| 80 | 225 | 450 | 200 | 160 | 8-м16 |
| 100 | 250 | 480 | 220 | 180 | 8-м16 |
| 125 | 250 | 515 | 250 | 210 | 8-м16 |
| 150 | 300 | 543 | 285 | 240 | 8-м20 |
| 200 | 350 | 610 | 340 | 295 | 12-м20 (1,6 МПа) |
| 250 | 450 | 693 | 405 | 355 | 12-м24 (1,6 МПа) |
| 300 | 500 | 766 | 460 | 410 | 12-м24 (1,6 МПа) |
Ⅳ . Установка и использование
1 .Счетчик воды соответствующего калибра следует выбрать в соответствии с диаметром трубопровода на месте монтажа. Ожидаемый расход должен соответствовать расходу от q1 до q3 счетчика воды.
2 . Установка счетчика воды должна основываться на счетчике воды
Набор на подсказке: есть логотип «H» для горизонтальной установки, «V» для вертикальной установки, направление стрелки на корпусе соответствует направлению потока трубы.
3 .Передний конец и конец счетчика воды должны быть оснащены отключительным клапаном, а прямые участки трубы достаточной длины и одинакового диаметра должны быть установлены в соответствии с требованиями u5, D3 (5DN, 3DN) для обеспечения точного измерения.
4.Необходимо предотвратить воздействие и вибрацию окружающей среды на месте установки, в противном случае счетчик воды будет поврежден.
5.Счетчик воды должен быть защищен от чрезмерного напряжения, вызванного трубопроводами и фитингами. При необходимости установите счетчик воды на основание или кронштейн. Верхние и нижние водопроводные трубы должны быть должным образом закреплены, чтобы предотвратить смещение любой части из-за тяги воды при снятии счетчика воды или отключении боковой стороны.
6 .Установка трубопровода должна оставлять необходимую длину соединения водосчетчика. Когда расстояние между двумя концами трубопровода превышает длину водосчетчика, расстояние между трубопроводом должно быть исправлено, чтобы соответствовать длине соединения водосчетчика. В противном случае чрезмерное расстояние приведет к разрыву и повреждению конца соединения резьбы водосчетчика или соединительной гайки трубы и соединительного фланца. Если расстояние слишком мало, счетчик воды не может быть установлен. если трубопроводы на обоих концах водосчетчика не расположены на одной оси, трубопровод должен быть корректирован на одной оси другими способами, что соответствует требованиям к установке водосчетчика, в противном случае возникнут и вышеуказанные явления.
7.Перед установкой следует промывать магистральный трубопровод, чтобы предотвратить попадание камня, песка и других мусоров в счетчик воды.
8. Для длительной работы счетчика воды следует всегда заполнять водой, рекомендуется выходной кран выше счетчика воды более чем на 0,5 м.
9.При использовании счетчика воды следует принять меры по предотвращению повреждения счетчика воды в неблагоприятных гидравлических условиях (кавитация, напряжение, гидравлический удар).
10.Счетчик воды должен быть защищен от воздействия и замерзания, при замерзании должны быть приняты антифризные меры. Счетчик воды должен предотвращать коррозию внешней среды и повреждение счетчика воды.
11.При длительном использовании счетчиков воды следует проводить периодические проверки в соответствии с местными требованиями. Если в трубопроводе есть мусор, ржавчина и другие отложения, которые блокируют сеть фильтра воды и влияют на точное измерение, они должны быть перекалиброваны назначенным отделом, и пользователь не должен произвольно ремонтировать счетчик воды.
12.Если счетчик воды используется в суровых условиях, после установки обратного клапана и выброса газа в заднюю трубу счетчика воды вращение счетчика воды не может быть устранено. водоснабжающему предприятию следует рассмотреть другие способы решения этой проблемы.
Ⅴ.Частые неисправности и причины
1.При неиспользовании счетчика воды указатель имеет прерывистое небольшое вращение. причина в основном заключается в колебаниях давления воды в трубопроводной сети или воздуха в трубе.
2.При неиспользовании счетчика воды непрерывно и равномерно вращается счетчик воды. Это явление указывает на то, что в трубопроводе за счетчиком воды есть капающая и проточная вода.
3.Когда на платформе нет загрузки данных, администратору необходимо зайти на сайт, чтобы проверить устранение неполадок.
Примечание: аккумулятор счетчика воды должен быть заменен специальным лицом, пользователь не должен заменять его самостоятельно.
Ⅵ. Отказ от ответственности
если печать повреждена или неполна, компания не несет ответственности. Компания не несет других обязанностей, кроме счетчиков воды (включая, помимо прочего, ответственность за споры по измерению воды, вызванные неисправностью или ошибкой счетчиков воды